青岛垚鑫智能科技有限公司
宣传

位置:中冶有色 >

有色技术频道 >

> 化学分析技术

分类:
全部
矿山技术
冶金技术
材料制备及加工技术
环境保护技术
分析检测技术
 
全部
物理检测技术
化学分析技术
力学检测技术
无损检测技术
失效分析技术
环境检测技术
地区:
全部
北京
天津
上海
重庆
河北
山西
辽宁
吉林
黑龙江
江苏
浙江
安徽
福建
江西
山东
河南
湖北
湖南
广东
海南
四川
贵州
云南
陕西
甘肃
青海
内蒙
广西
西藏
宁夏
新疆
其他
其他
展开
 
全部
广州
韶关
深圳
珠海
汕头
佛山
江门
湛江
茂名
肇庆
惠州
梅州
汕尾
河源
阳江
清远
东莞
中山
潮州
揭阳
云浮

广东深圳有色金属化学分析技术理论与应用

免费发布技术信息>>
用于灵敏检测重金属镉离子的电化学传感器及制备方法

本发明的目的是提供一种用于检测重金属镉离子的电化学传感器及制备方法。该传感器的结构是由电化学工作站、电解池和电极组成。电极包括铂丝对电极、银/氯化银参比电极和工作电极。其中工作电极是指采用氮硫共掺杂石墨多孔碳/Nafion/铋膜修饰的玻碳电极。该电化学传感器可实现痕量重金属镉离子的灵敏检测,检测线性范围为4‑80μg/L,检测限达到0.1μg/L。该电化学传感器由于组合了铋薄膜和Nafion薄膜以及氮硫共掺杂多孔碳材料的优良性质,具有高的灵敏度、良好的选择性、宽的线性范围、优良的再生性、稳定性等性能,该电化学传感器可应用于检测实际水样品中的重金属镉离子。

标签:
化学分析
广东 - 深圳 来源:中冶有色网 2023-03-19
定量检测人TK1的化学发光试剂盒及其制备方法

本发明涉及检测人TK1的化学发光试剂盒及其制备方法。所述试剂盒采用双抗体夹心法检测人TK1并且包含化学发光底物,所述双抗体夹心法采用第一TK1抗体作为捕获抗体,所述第一TK1抗体来源于序列表SEQ ID NO.1和SEQ ID NO.2所述的序列中的一者;并且所述双抗体夹心法采用第二TK1抗体作为检测抗体,所述第二TK1抗体来源于序列表SEQ ID NO.1和SEQ ID NO.2所述的序列中的另一者。本发明的化学发光法试剂盒,主要具有灵敏度高、特异性强、试剂盒价格低廉、试剂盒稳定且有效期长、方法稳定快速、检测范围宽、操作简单自动化程度高等优点。

标签:
化学分析
广东 - 深圳 来源:中冶有色网 2023-03-19
用于DNA单链与蛋白质分子检测的电化学传感器的构建方法

本发明涉及一种用于DNA单链与蛋白质分子检测的电化学传感器的构建方法,通过在传统的DNA电化学传感器设计基础上,通过引入一个独特的附加DNA探针,起到了DNA单链检测的信号增强效应,并可以进一步应用到基于核酸适体的蛋白质电化学传感器中。本发明可以解决传统的用于DNA单链与特异蛋白质分子检测的电化学传感器件所固有的检测灵敏度低、前处理过程繁琐、检测底限浓度高的缺点,在DNA电化学传感器领域中具有很好的推广价值。

标签:
化学分析
广东 - 深圳 来源:中冶有色网 2023-03-19
基于关系检测和强化学习的知识图谱推理方法

本发明公开了基于关系检测和强化学习的知识图谱推理方法,包括:基于领域知识图谱和实体字典的字符串模糊匹配和基于CNN‑LSTM‑CRF的实体识别模型,检测用户输入的问句中的实体,完成实体检测;基于神经网络的语义匹配模型完成关系检测,关系检测模型包括:根据输入的问句以及与该问句相关的关系及不相关的关系,通过神经网络得到低维流形表示,基于该低维流形表示,使用rank loss优化模型参数,以使得问句能够从关系集合中找到与其语义最相近的关系;基于强化学习的知识图谱推理,每个时间步,根据策略函数πθ,在当前实体et下,选择一条out‑going的relationrt+1,走到下一个实体et+1,经过预设的最大的推理路径长度T的序列决策,达到最终的实体eT,实体eT作为问句的答案进行输出。

标签:
化学分析
广东 - 深圳 来源:中冶有色网 2023-03-19
移动式电化学检测装置

本实用新型公开了一种移动式电化学检测装置,具体涉及电化学检测技术领域,其技术方案是:包括检测盒体、接头和指示灯,所述接头和指示灯安装在检测盒体前端,还包括:移动结构,所述移动结构设置在检测盒体下侧;所述移动结构包括插槽,所述插槽开设在检测盒体侧端,所述插槽内侧插接插板,所述插板螺钉连接检测盒体,所述插板侧端安装支撑臂,所述支撑臂下端连接支撑板,所述支撑板下侧连接液压缸,所述液压缸下端安装底座,所述底座下端安装万向轮,本实用新型有益效果是:通过对电化学检测装置下端设置移动结构,使电化学检测装置不仅可以水平移动,便于携带,还可以升降移动调节,避免总是弯腰操作。

标签:
化学分析
广东 - 深圳 来源:中冶有色网 2023-03-19
高精度化学仪器计量检测装置

本实用新型公开了一种高精度化学仪器计量检测装置,包括检测底箱,检测底箱的顶端固定连接有检测台,检测台顶端的外围固定设置有检测立架,检测立架的顶端开设有检测滑槽,检测滑槽的内侧滑动连接有升降齿杆,升降齿杆的底端固定设置有升降盘,升降盘底端的中部固定安装有滴加滴头,升降齿杆与升降盘连接处的一侧固定设置有储液筒,储液筒的底端固定设置有与滴加滴头相通的导流管,本实用新型一种高精度化学仪器计量检测装置,该计量检测装置采用垂直滴加的方式来对高精度化学仪器进行计量检测,检测液体的添加更加精准稳定,检测结果观察更加直观便捷,操作使用方便,提高了仪器的检测效率和检测精度,整体稳定性好,实用性强。

标签:
化学分析
广东 - 深圳 来源:中冶有色网 2023-03-19
化学发光法检测装置
化学发光法检测装置 994     
 0

本实用新型公开了一种化学发光法检测装置。所述化学发光法检测装置包括反应部分和光学检测部分,所述反应部分包括推送机构、反应机构和抓取机构,其中,所述推送机构,用于将反应杯推送至所述反应机构中不同的反应区;所述反应机构,用于使被推送至不同反应区的所述反应杯中盛载的内容按照化学发光法产生可供检测的光信号;所述抓取机构,用于将产生可供检测的光信号的反应杯抓取至所述光学检测部分进行光学检测。本实用新型所提供的化学发光法检测装置能够实现检测自动化。

标签:
化学分析
广东 - 深圳 来源:中冶有色网 2023-03-19
用于同时灵敏检测多巴胺和尿酸的电化学传感器及制备方法

本发明的目的是提供一种用于同时灵敏的选择性检测多巴胺(DA)和尿酸(UA)的电化学传感器及制备方法。该传感器的结构是由电化学工作站、电解池和电极组成。电极包括铂丝对电极、银/氯化银参比电极和工作电极。其中工作电极是指采用微波剥离多孔碳修饰的玻碳电极。该电化学传感器由于其修饰电极材料微波剥离多孔碳材料具有大的比表面积、多孔结构、优良的电催化活性性能和良好的导电性等优良性质,在检测多巴胺和尿酸时,具有高的灵敏度、良好的选择性、宽的线性范围、低的检测限等优良性能,该电化学传感器可对实际生物样品中的多巴胺和尿酸的含量进行定性定量检测。

标签:
化学分析
广东 - 深圳 来源:中冶有色网 2023-03-19
在温度变化环境下化学气体检测的方法

本发明公开了一种在温度变化环境下化学气体检测的方法,涉及化学气体检测技术领域。该方法包括以下检测步骤:准备检测器具、气体的通入、多组实验检测、数据比对和物理特性比对,借助计算机、电子传感器和摄像机,在不同温度和气压的环境下,更加直观高效的帮助科研人员对检测气体进行检测研究。该在温度变化环境下化学气体检测的方法先对密封罐进行消毒处理,通过改变密封罐中气体的气压和密封罐的温度,能够高效的检测出检测气体在不同温度和气压的条件下,对应的物理特性,能够有效的帮助科研人员对气体的特性进行更加细致的研究,提高了科研人员的工作效率,使得检测的误差更小。

标签:
化学分析
广东 - 深圳 来源:中冶有色网 2023-03-19
干化学检测装置
干化学检测装置 1170     
 0

本实用新型提供的干化学检测装置,包括底座、发光组件、光学检测电路板和光电器件,底座的开设有中心孔及多个侧孔,中心孔沿底座的中心轴线贯穿底座,多个侧孔环绕中心轴线间隔设置,并贯穿底座,光学检测电路板与底座相对,发光组件包括多个LED灯,多个LED灯对应地安装于多个侧孔内且引脚均与光学检测电路板固定连接,光电器件设置于光学检测电路板的靠近底座的一侧,并与中心孔相对。本实用新型的干化学检测装置,光学检测电路板与LED灯彼此之间形成约束力,以与底座稳固连接,减少专门用来安装光学检测电路板的固定结构,且干化学检测装置整体结构简单、紧凑,有效降低结构复杂度并减少整体体积。

标签:
化学分析
广东 - 深圳 来源:中冶有色网 2023-03-19
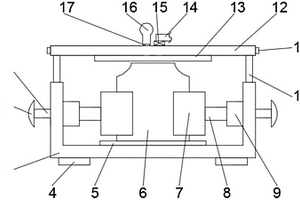
化学用仪器气密性检测装置

本实用新型涉及检测装置技术领域,具体涉及一种化学用仪器气密性检测装置,包括下支架,所述下支架的中部设置有夹紧装置,所述下支架的中部设置有检测装置,所述检测装置包括升降组件和检测组件,所述升降组件设置在下支架的上方,所述检测组件设置在升降组件的中间,本实用新型的有益效果是:可以使用拉板向两侧拉动对化学仪器进行夹紧固定,防止气密性检测时,化学仪器出现滑动的现象,影响检测结果,并且通过顶板的覆盖可以对化学仪器进行密封,通过气球的大小来判断化学仪器的气密性,整体结构简单,检测方便快捷,提高使用时的便利性。

标签:
化学分析
广东 - 深圳 来源:中冶有色网 2023-03-19
利用硅基化学传感材料检测水中污染物浓度的方法

本发明公开了一种利用硅基化学传感材料检测水中污染物浓度的方法,所述硅基化学传感材料的结构通式为([EuEDTA]+)x-(β-CD)y-(SiO2)z,其中,x∶y∶z=(1~2)×10-3∶(1~5)×10-3∶1,所述方法包括以下步骤:1)准备待检测污染物的不同浓度的超纯水溶液;2)以波长为260nm的激光光源,通过荧光分光光度计测量步骤1)中制得的溶液的荧光信号;3)将步骤2)中的荧光检测结果转换为曲线方程:;4)在石英比色杯中加入4mg硅基化学传感材料以及3ml未知浓度的污染物,磁力搅拌均匀;5)以260nm作为激发光源,通过荧光分光光度计测量步骤4)中的污染物的荧光信号;6)选择未知浓度的污染物在指定波长的光强度,并将其代入步骤3所示的曲线方程中,计算出污染物的浓度。

标签:
化学分析
广东 - 深圳 来源:中冶有色网 2023-03-19
比色型化学传感器阵列、检测金属离子的方法,以及评价和优化传感器阵列的方法

本发明属于化学传感器领域,涉及比色型化学传感器阵列、检测金属离子的方法,以及评价和优化传感器阵列的方法。该比色型化学传感器阵列包括:第一传感器单元,所述第一传感器单元为具有式I所示结构的化合物,第二传感器单元,所述第二传感器单元包括具有式II所示结构的化合物和具有式III所示结构的化合物,第三传感器单元,所述第三传感器单元包括具有式II所示结构的化合物、具有式III所示结构的化合物和氢氧化钠。本发明利用比色型化学传感器阵列以及LDA和HCA的模式识别算法可以实现对不同种类不同浓度的单金属离子和金属离子混合物的检测区分,并且可以将传感器阵列进行优化,实现用最少数量的传感单元完成区别检测的目的。

标签:
化学分析
广东 - 深圳 来源:中冶有色网 2023-03-19
利用光谱数据和化学检测数据建立数据模型的方法

本发明涉及一种利用光谱数据和化学检测数据建立数据模型的方法,将物体样品的n组光谱数据和n组化学检测数据录入同一数据库,形成数据映射集合,从数据映射集合中,选取2-100个波长的吸光度数值与化学检测数据进行对应,确定2-100个波长吸光度变化与化学检测数据变化具有定性和定量关系的K个公式,将K个公式嵌入运算服务器,物体新样品的光谱数据录入数据库的同时,选取上述确定的2-100个波长录入运算服务器,计算出未进行实际检测的物体新样品化学数据。其中,化学检测数据包括T种成分及其含量检测,T≥1,K≥T,n≥50。建模的数据基量大,从700-2500nm中选取波长数据提高数据模型的精确度。

标签:
化学分析
广东 - 深圳 来源:中冶有色网 2023-03-19
化学发光免疫检测芯片及应用

本发明涉及免疫检测技术领域,具体公开一种化学发光免疫检测芯片及应用。所述化学发光免疫检测芯片包括芯片主体,设置于所述芯片主体内并连通的进样区和复合反应区;所述复合反应区按照进样方向包括依次连通的包被区和标记物储藏区;所述包被区根据检测物的种类包含若干依次连通的包被分区,每一个所述包被分区用于检测一种特定检测物。所述的化学发光免疫检测芯片可应用于制备检测人体血液中激素蛋白含量的设备。本发明的化学发光免疫检测芯片可以实现多项检测物的联检,且灵敏度高、检测结果的重复性和准确度高,检测时间短且节约大量检测成本。

标签:
化学分析
广东 - 深圳 来源:中冶有色网 2023-03-19
超灵敏的DNA电化学检测方法、试剂以及系统

本发明提供了一种超灵敏的DNA电化学检测方法,包括如下步骤:在DNA电化学传感器的工作电极上固定DNA捕获探针;在固定有DNA捕获探针的工作电极上固定MCH;将待测的DNA样本、DNA信号探针添加至工作电极上进行杂交处理;检测杂交处理后工作电极的电化学信号。本发明的上述超灵敏的DNA电化学检测方法,通过使用MCH(6-巯基己醇)对工作电极封闭,可以屏蔽一些非靶DNA的信号和背景信号,实现对传感器噪声信号的降低,提高传感器灵敏度。

标签:
化学分析
广东 - 深圳 来源:中冶有色网 2023-03-19
电化学试纸结构及检测方法

本发明公开一种电化学试纸结构及检测方法,其中电化学试纸结构包括试纸基片、第一检测电极、第二检测电极和绝缘层及上盖层,在试纸基片设有与第一检测电极与第二检测电极分离的启动电路,该启动电路在检测试纸时使检测仪器启动,该启动电路位于靠近检测插入端。由于所述电化学试纸设有与检测电极分离的使检测仪器启动的启动电路,在向检测仪器插入电化学试纸过程中,先由经过启动电路使检测仪器从休眠状态转为检测待机状态后,在试纸在继续向检测仪器插入到位后检测仪器与启动电路分离,并与电化学试纸上的检测电极形成电通路,使电化学试纸实现检测。在检测过程中检测仪器不需要两个电极处于短路状态,减少检测仪器电损耗,提高使用寿命。

标签:
化学分析
广东 - 深圳 来源:中冶有色网 2023-03-19
基于化学发光法的检测装置

本实用新型公开了一种基于化学发光法的检测装置。所述检测装置包括:主控单元、反应单元和光电转换单元,其中,所述反应单元在所述主控单元的控制下在预定时间分别通入待检测样品试剂、抗体磁珠溶液、缓冲洗涤液、化学发光剂和反应试剂,使得上述内容能够按照化学发光法产生可供检测的光信号;所述光电转换单元在所述主控单元的控制下移动,通过所述移动对所述光信号进行采集并转换处理得到脉冲信号,通过所述脉冲信号实现对所述待检测样品试剂中抗原数量的检测。本实用新型的基于化学发光法的检测装置能够实现检测自动化。

标签:
化学分析
广东 - 深圳 来源:中冶有色网 2023-03-19
快速校正近红外设备并检测农产品中化学成分的方法

本发明涉及一种快速校正近红外光谱检测设备并检测农产品中化学成分的方法,该方法用标准近红外检测设备对农产品标准样品进行近红外数据采集,用化学方法检测农产品标准样品的化学成分数据,根据标准近红外光谱数据库和标准化学成分数据库建立标准映射模型;用检测农产品的实际近红外检测设备采集农产品校验样品的近红外光谱数据和用化学方法检测农产品校验样品的化学成分数据,与标准映射模型进行比对获得校验映射模型,新样品的近红外光谱数据通过校验映射模型得到化学成分数据。通过校验映射模型,解决了空间上相隔较远的地方采用新的近红外检测设备快速检验然后快速检测农产品的化学成分数据。

标签:
化学分析
广东 - 深圳 来源:中冶有色网 2023-03-19
光谱数据和化学检测数据共享输入和输出的系统

本发明公开了一种光谱数据和化学检测数据共享输入和输出的系统,包括多个终端和一个服务器,每个终端的信号输出端与服务器的信号输入端连接,服务器的信号输出端与每个终端的信号输入端连接,每个终端设有光谱数据输入端口、化学检测数据输入端口、化学检测数据查询光谱数据交互端口和光谱数据查询化学检测数据交互端口;服务器包括服务器数据输入端口和服务器数据输出端口,服务器数据输入端口接收从终端的光谱数据输入端口、化学检测数据输入端口、光谱数据查询化学检测数据交互端口和化学检测数据查询光谱数据交互端口输入的信号,服务器数据输出端口包括光谱数据查询化学检测数据的结果输出端口和化学检测数据查询光谱数据的结果输出端口。

标签:
化学分析
广东 - 深圳 来源:中冶有色网 2023-03-19
反应杯转盘、测量室及化学发光检测仪

本发明涉及一种反应杯转盘、测量室及化学发光检测仪。反应杯转盘包括顶板和周壁;顶板包括相对设置的第一表面和第二表面,周壁位于第一表面,周壁环绕反应杯转盘的中心轴线以形成反应杯转盘内腔,第二表面开设有多个第一隔光组件收容槽,多个第一隔光组件收容槽将顶板划分为多个反应杯容置区,每一反应杯容置区开设有反应杯容置腔;周壁开设有多个测量窗,多个测量窗与多个反应杯容置腔一一对应并连通。通过在反应杯转盘设置多个第一隔光组件收容槽并对应设置多个隔光组件,将反应杯转盘划分为多个独立的区域,这多个独立区域相互之间的光线隔离效果较好,解决了在同一个测量室内的多反应杯同时并行处理存在的残余发光干扰问题。

标签:
化学分析
广东 - 深圳 来源:中冶有色网 2023-03-19
可原位检测多种化学、生物成分的组织工程支架

本发明公开了一种可原位检测多种化学、生物成分的组织工程支架,包括至少一个细胞可贴附且可降解的第一上薄膜和第一下薄膜,第一上薄膜在第一下薄膜的上方;至少一个可降解的第二上薄膜和第二下薄膜,第一上薄膜在第二上薄膜的上侧,第二下薄膜在第一下薄膜的上侧;至少一个第一电极电路层,第一电极电路层在第二上薄膜和第二下薄膜之间,第一电极电路层中至少有一个电极能够感测离子、分子或生物标志物中的至少一种;第一上薄膜或第一下薄膜的降解周期均小于第二上薄膜或第二下薄膜的降解周期;本发明能将生物标志物的浓度转换成电信号,帮助分析患者病情的发展情况。

标签:
化学分析
广东 - 深圳 来源:中冶有色网 2023-03-19
测量室及化学发光检测仪

本发明涉及一种测量室及化学发光检测仪,上述测量室包括底板、内壳、外壳、上盖、反应杯转盘、底物喷头和光电倍增管检测组件,所述底板、外壳和上盖围成一个收容空间,所述反应杯转盘设置在所述收容空间内,所述内壳设置在所述收容空间内,沿所述反应杯转盘的径向所述反应杯转盘设置于所述内壳和所述外壳之间,沿所述反应杯转盘的轴向所述反应杯转盘位于上盖和所述底板之间,所述外壳的顶部与所述反应杯转盘的连接处形成第一迷宫结构,和/或所述内壳的顶部与所述反应杯转盘的连接处形成第二迷宫结构。上述测量室采用折面式迷宫结构,使得外界自然光无法达到测量室的暗室,提高测量精度。与此同时,上述折面式迷宫结构具有动态密封效果,使得在各个反应杯处理工位上并行作业的多个反应杯之间不会相互光干扰。

标签:
化学分析
广东 - 深圳 来源:中冶有色网 2023-03-19
吖啶标记结合物及其制备方法、化学发光免疫检测试剂盒

本发明公开了一种吖啶标记结合物及其制备方法、化学发光免疫检测试剂盒。吖啶标记结合物包括依次连接的吖啶取代物、连接载体、双功能交联剂和待标记物。吖啶取代物与连接载体上的氨基反应形成‑CO‑NH‑结构从而将吖啶取代物与连接载体连接。通过连接载体以及含有马来酰亚胺基及酰肼基的双功能交联剂,吖啶取代物与待标记物不直接发生化学键连接,避免了吖啶取代物对待标记物上的活性位点形成干扰,使得吖啶标记结合物的活性相对较高,提高免疫分析的灵敏度。

标签:
化学分析
广东 - 深圳 来源:中冶有色网 2023-03-19
基于5hmC点击化学高通量测序技术的肺癌检测方法

本发明涉及肺癌检测技术领域,尤其涉及基于5hmC点击化学高通量测序技术的肺癌检测方法。本发明使用靶向捕获技术进行5hmC高通量测序的检测方法,通过机器学习相关算法,实现通过对ctDNA多表观遗传组学进行免疫检查位点抑制剂响应的预测。这种无创、实时的检测方法将为免疫检查位点抑制剂的应答提供重要分子靶标,便于后续的研究、诊断。

标签:
化学分析
广东 - 深圳 来源:中冶有色网 2023-03-19
降钙素原化学发光检测试剂盒

本实用新型公开了一种降钙素原化学发光检测试剂盒,包括标准试剂瓶基座(1)、降钙素原抗体试剂瓶(2)和标准磁珠试剂瓶(3),其中该标准磁珠试剂瓶(3)安装在该标准试剂瓶基座(1)的至少一部分中,用于储存链霉亲和素磁珠试剂,该降钙素原抗体试剂瓶(2)宽度与标准降钙素原抗体试剂瓶实质上相同,长度为标准降钙素原抗体试剂瓶长度的至少两倍,用于储存包含生物素标记的降钙素原抗体和吖啶酯标记的降钙素原抗体的混合抗体试剂。本实用新型可以将生物素标记的PCT抗体或吖啶酯标记的PCT抗体同时储存在降钙素原抗体试剂瓶(2)中成为混合抗体试剂,减少一种试剂的分装储存,在应用于检测分析时可以减少试剂吸取程序,提高了检测效率。

标签:
化学分析
广东 - 深圳 来源:中冶有色网 2023-03-19
高敏心肌肌钙蛋白I磁微粒化学发光免疫检测试剂盒、制备方法及用途

本申请提供一种高敏心肌肌钙蛋白I(hs‑cTnI)磁微粒化学发光免疫检测试剂盒,包括试剂R1、试剂R2、磁微粒工作液和cTnI抗原校准品,其中该试剂R1包含生物素标记的抗cTnI多克隆抗体,该试剂R2包含两株针对不同cTnI抗原表位的吖啶酯标记的抗cTnI单克隆抗体,该磁微粒工作液包含链霉亲和素磁珠。该试剂盒还可包括H2O2溶液和碱溶液。本申请还提供了该试剂盒的制备方法和用途。本申请的试剂盒能对cTnI抗原的多个表位进行识别,大大提高了心肌肌钙蛋白I化学发光免疫检测试剂盒的分析灵敏度和精密度。

标签:
化学分析
广东 - 深圳 来源:中冶有色网 2023-03-19
5-甲基四氢叶酸化学发光检测试剂盒及其制备方法

本发明提供一种5‑甲基四氢叶酸化学发光检测试剂盒,包括:第一试剂、第二试剂、第三试剂和第四试剂;其中第一试剂为5‑甲基四氢叶酸‑碱性磷酸酶连接物、第二试剂为抗5‑甲基四氢叶酸抗体‑磁微粒子工作液、第三试剂为清洗缓冲液、第四试剂为酶促发光底物液或直接发光底物液。本试剂盒用于化学发光免疫分析技术全自动检测人体中5‑甲基四氢叶酸的含量。

标签:
化学分析
广东 - 深圳 来源:中冶有色网 2023-03-19
基于原位拉曼和电化学复合法的锂电池电极材料寿命检测系统

一种基于原位拉曼和电化学复合法的锂电池电极材料寿命检测系统,其特征是它由电解池(19)和拉曼镜头(20)组成,电解池(19)旋转在工作台上并通过外接导线(1)和电化学仪器相连,拉曼镜头(20)正对电解池(20)中的电极表面获得电池原位充放电过程中阴极材料的拉曼光谱,通过对谱线的分析得到对应阴极材料的拉曼曲线图,进而得到电极材料的使用寿命。本实用新型结构简单,测试方便,尤其是可以在不拆卸电极的情况下完成电极材料的检测,并进而得出电池的寿命。

标签:
化学分析
广东 - 深圳 来源:中冶有色网 2023-03-19
睾酮的磁颗粒酶促化学发光免疫检测试剂

本发明免疫分析技术领域,具体涉及一种睾酮的磁颗粒酶促化学发光免疫检测试剂。本发明公开了一种睾酮的磁颗粒酶促化学发光免疫检测试剂,其组成成分:0.01‑0.05%的包被有睾酮抗原的超顺磁性微粒、碱性磷酸酶标记睾酮抗体、睾酮释放试剂、碱性磷酸酶发光底物以及磁珠清洗液;所述睾酮释放试剂为双氢睾酮、达那唑、肝素钠、8‑苯胺‑1‑萘磺酸(ANS)、8‑苯胺‑1‑萘磺酸盐、三氯乙酸钠、2‑HydroxymethyleneEthisterone(CAS:2787‑02‑2)、炔孕酮(ethisterone,CAS:434‑03‑7)、2‑Hydroxymethyl‑1,2‑dehydroethisterone(CAS:60142‑08‑7)中的一种或多种组合。

标签:
化学分析
广东 - 深圳 来源:中冶有色网 2023-03-19
上一页 52 53 54 55 56 ... 61 下一页
共61页    到第

中冶有色为您提供最新的广东深圳有色金属化学分析技术理论与应用信息,涵盖发明专利、权利要求、说明书、技术领域、背景技术、实用新型内容及具体实施方式等有色技术内容。打造最具专业性的有色金属技术理论与应用平台!

全国热门有色金属设备推荐
展开更多 +
全国热门有色金属技术推荐
展开更多 +

 

江西省隆恩特环保设备有限公司
宣传

报名参会
更多+

报告下载

有色专家
更多+

蒙纳士苏州校区
中国工程院外籍院士/校长
郑州大学
校长/党委书记
江西理工大学
教授
矿冶科技集团
副所长/研究员
赣州江钨钨合金有限公司
副总经理
赤泥综合利用研究报告2025
推广

热门技术
更多+

推荐企业
更多+

福建省金龙稀土股份有限公司
宣传

发布

在线客服

公众号

电话

顶部
咨询电话:
010-88793500-807