青岛垚鑫智能科技有限公司
宣传

位置:中冶有色 >

有色技术频道 >

> 化学分析技术

分类:
全部
矿山技术
冶金技术
材料制备及加工技术
环境保护技术
分析检测技术
 
全部
物理检测技术
化学分析技术
力学检测技术
无损检测技术
失效分析技术
环境检测技术
地区:
全部
北京
天津
上海
重庆
河北
山西
辽宁
吉林
黑龙江
江苏
浙江
安徽
福建
江西
山东
河南
湖北
湖南
广东
海南
四川
贵州
云南
陕西
甘肃
青海
内蒙
广西
西藏
宁夏
新疆
其他
其他
展开
 
全部
其他

其他有色金属化学分析技术理论与应用

免费发布技术信息>>
Cu-Co-Si系铜合金板材和制造方法以及使用了该板材的部件

本发明为铜合金板材,其具有以质量%计Ni与Co的合计:0.20~6.00%、Ni:0~3.00%、Co:0.20~4.00%、Si:0.10~1.50%、根据需要适量含有Fe、Mg、Zn、Mn、B、P、Cr、Al、Zr、Ti、Sn的1种以上、余量为Cu和不可避免的杂质构成的化学组成,在研磨了板面(轧制面)的表面中,将通过EBSD(电子背散射衍射法)所测定的从Brass方位{011}<211>的结晶方位差为10°以内的区域的面积设为SB、将从Cube方位{001}<100>的结晶方位差为10°以内的区域的面积设为SC时,SB/SC为2.0以上,且上述表面中SB所占的面积率为5.0%以上。

标签:
化学分析
其他 - 其他 来源:中冶有色网 2023-03-19
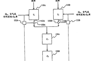
控制衬底温度均匀性的装置和方法

提供一种装置和方法,该装置和方法用于在化学气相沉积反应室内提供充分均匀的衬底温度。该方法和装置利用一个基架(110)固定反应室内的衬底(160),以及将多个加温元件(120,130,140)安置成能加热该基架和衬底。衬底高温计(138,139)测量衬底的温度以提供一个表示加工温度的信号。该信号用在反馈回路(151,134,132)中,控制一个或多个加温元件。提供至少两个对准在基架不同区域的基架高温计(126,136,146)。比较来自基架高温计的信号以提供一个不均匀温度的指示。该指示用于一个单独的反馈回路(149,124,122)内,调整其他的加温元件,以保持基架上温度的均匀性。

标签:
化学分析
其他 - 其他 来源:中冶有色网 2023-03-19
标记产品的方法、采用该方法标记的产品以及识别该标记的方法

本发明涉及一种识别固体或液体批量物质的真实性和非伪造性的方法和装置,所述方法通过往所述批量物质中加入包含至少一种痕量离子的标记组合物来实现,选择用于掺入已标记批量物质中的痕量离子的总浓度低于标准海水中相同离子的相应浓度。可使用电化学传感器现场测试已标记物质的真实性和非伪造性或掺假的程度,并且使用如原子吸收光谱、离子色谱或质谱等方法对该结果进行实验室确认。

标签:
化学分析
其他 - 其他 来源:中冶有色网 2023-03-19
增强过程和轮廓模拟器的算法

一种增强过程和轮廓模拟器算法的方法,其可预测一个特定等离子过程将生成的表面轮廓。首先,高能粒子被跟踪,然后,这种高能粒子产生的离子通量被记录下来。根据同时求解的中性通量、表面化学覆盖和表面材料类型便可计算出局部刻蚀速率和局部堆积速率。

标签:
化学分析
其他 - 其他 来源:中冶有色网 2023-03-19
具有微孔电解质层和部分开口覆盖膜的氧传感器

本发明涉及具有微孔电解质层和部分开口覆盖膜的氧传感器。本发明涉及用于确定水性测量介质中溶解的氧的电化学传感器、其制作方法和利用所述电化学传感器确定水性测量介质中溶解的氧的方法。

标签:
化学分析
其他 - 其他 来源:中冶有色网 2023-03-19
发光材料及使用其的发光器件

一种发光材料,其包含(A)在主链中含有芳环的 共轭聚合物和(B)在三重态受激态发光的化合物,其特征在于在 聚合物(A)中,各自通过计算化学方法计算的自由能级和处于 基态的最低的空轨道(LUMO)能级之间的能量差为1.3eV或更 高,或用实验方法测量的自由能级和处于基态的最低的空轨道 (LUMO)能级之间的能量差为2.2eV或更高,并且该材料满足 下面的条件(1),条件(1):ETA -ESA0> ETB- ESB0,其中 ESA0是聚合物(A)处于基态的能 量;ETA是聚合物(A)处于最低的 受激三重态的能量;ESB0是化合 物(B)处于基态的能量;且ETB 是化合物(B)处于最低的受激三重态的能量。

标签:
化学分析
其他 - 其他 来源:中冶有色网 2023-03-19
确定岩石渗滤特性的方法

本发明涉及油气工业,尤其涉及重油和地沥青沉积物的开采。确定岩石渗滤特性的方法包括如下步骤:在井内提供对比温度流体循环;所述流体按照在环空内部分流体吸附所需的量进行供应;停止井内的流体循环;从循环停止直到达到热稳定状态沿着井筒测量温度;获得沿井筒的温度与时间曲线;使用数据平均模型确定岩石的渗滤特性。流体的粘度通过用于非水平井的化学添加剂被改变。

标签:
化学分析
其他 - 其他 来源:中冶有色网 2023-03-19
增强阻燃性的木材改性

木材防腐剂(“经处理的”)与经历化学浸渍的基于无机的(碱金属硅酸盐)阻燃剂的共制剂。一旦“经处理的阻燃剂”工作溶液完全渗透(边材)到木材中,然后其经历使用各种加热方案的加热(固定)工艺以实现化学固定。然后测试经处理的阻燃剂改性木材[tfrMW]产品的增强的阻燃性能。当被加热时,木材经历热降解并且燃烧产生气体、蒸气、焦油和炭。使用“锥形量热仪”测试方法,与未处理的辐射松相比,[tfrMW]产品显示出在以下参数方面的显著降低:热释放速率(HRR)、质量损失速率(MLR)和烟产生(SEA)值。

标签:
化学分析
其他 - 其他 来源:中冶有色网 2023-03-19
非水电解质二次电池用活性物质、该活性物质的制造方法、非水电解质二次电池用电极和非水电解质二次电池

本发明的课题在于提供一种放电容量大、低SOC区域的输出性能优异的非水电解质二次电池用活性物质。上述非水电解质二次电池用活性物质的特征在于,含有锂过渡金属复合氧化物,该锂过渡金属复合氧化物具有α-NaFeO2型晶体结构,由组成式Li1+αMe1-αO2(Me为包含Mn、Ni和Co的过渡金属元素且0<α<1)表示且1.250≤(1+α)/(1-α)≤1.425,所述非水电解质二次电池用活性物质在使用了CuKα球管的X射线衍射测定中,2θ=18.6°±1°的衍射峰的半峰宽为0.20°~0.27°和/或2θ=44.1°±1°的衍射峰的半峰宽为0.26°~0.39°,进行电化学氧化至电位5.0V(vs.Li/Li+)时,在X射线衍射图上作为归属于六方晶(空间群R3-m)的单相被观察到。

标签:
化学分析
其他 - 其他 来源:中冶有色网 2023-03-19
均匀的复合式触媒/酶结构及其制备方法与应用

本发明提出一种均匀的复合式触媒/酶结构及其制备方法与应用,该复合式触媒/酶结构及其制备方法是利用一电泳沉积法在一适当电泳沉积条件下,同时沉积固定多个触媒粒子与酶分子,以于一复合式触媒酶薄膜形成一基材表面。该薄膜包括均匀混合与分布的多个用于催化生物分子反应的酶分子,以及用于催化电化学物质反应的触媒材料。此复合式结构可用来作为微型传感器的生物感测元件中的一工作电极。

标签:
化学分析
其他 - 其他 来源:中冶有色网 2023-03-19
用聚酯树脂生产有优良防潮性的制品

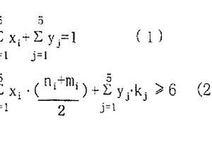
由重复单元X=[O-(CH2)n-OCO-(CH2)m-CO]和/或Y=[O-(CH2)k-CO], 其中n+m的半和等于或大于6且k是一个等于或大于6的数, 或含有有下列化学式的单元或序列的共聚物 : xi[O-(CH2)ni-OCO-(CH2)mi-CO]、yj[O-(CH2)kj-CO], 其中i, j=1-5, ni=2-22, mi=0-20, kj=1-21(公式(1)中的xi和yi在0和1间变化, 表示各种单元的摩尔分数, 公式(2)一样)形成的聚酯树脂用于制备要求在38℃和90%相对湿度下测量有小于每天350g×30μm/m2透湿性和优良生物降解性的产品。

标签:
化学分析
其他 - 其他 来源:中冶有色网 2023-03-19
基于聚[硅铝酸盐-二硅氧基]的地质聚合物水泥及其制备方法

本发明涉及一种地质聚合物水泥或粘结料,其含有由聚(硅铝酸盐-二硅氧基)类型的地质聚合化合物构成的无定形玻璃态基体,该化合物具有近似的化学式(Na、K、Ca)(-Si-O-Al-O-Si-O-Si-O)或(Na、K、Na)-PSDS。其由不同种类的聚硅铝酸盐的混合物构成,其中Si∶Al原子比为2~5.5,用电子显微探针测量的Si∶Al原子比的平均值接近于2.8~3。该地质聚合物粘结料或水泥中的剩余组分,如蜜蜡石颗粒、硅铝酸盐颗粒和石英颗粒没有纳入该Si∶Al原子比的计算中。该(K、Ca)-聚(硅铝酸盐-二硅氧基)(K、Ca)-PSDS类型的地质聚合物结构比现有技术的(K、Ca)-聚(硅铝酸盐-硅氧基)(K、Ca)-PSS类型的地质聚合物结构的机械坚固度高50%~60%。

标签:
化学分析
其他 - 其他 来源:中冶有色网 2023-03-19
阻燃橡胶组合物、其硫化物和成型品

本发明提供可以得到阻燃性和机械强度优异的硫化物的橡胶组合物、其硫化物和成型品。本发明以阻燃橡胶组合物为方案,其相对于氯丁橡胶100质量份,含有:(a)由化学式(1)所示、且通过JIS Z8830中规定的1点法测定的BET比表面积为3~20m2/g的水滑石类化合物MxAly(OH)zCO3·mH2O(1),(式中,M表示为Mg或Zn中的至少一种的2价金属离子,x表示3~7,y表示1~3、z表示7~20,m表示2~7的范围的系数值)4~16质量份;以及(b)利用JIS Z 8825中记载的激光衍射法得到的中心粒径0.5~5.0μm的氢氧化铝10~80质量份。

标签:
化学分析
其他 - 其他 来源:中冶有色网 2023-03-19
由空心玻璃制成的物品
由空心玻璃制成的物品 1205     
 0

本发明涉及空心玻璃制成的物品,其在5mm厚度时具有大于或等于70%的总光透射,所述总光透射通过考虑如ISO/CIE10526标准所定义的光源C和如ISO/CIE10527标准定义的C.I.E.1931标准比色观测者,和大于或等于65%,尤其70%的滤光能力进行计算,所述滤光能力被定义为等于100%减去在330-450nm之间的透射的算术平均值的值,所述制品具有硅-钠-钙类型的化学组成,该组成以在下面定义的重量范围内的含量包含以下光学吸收剂:Fe2O3(总铁)0.01-0.15%,TiO20.5-3%,硫化物(S2-)0.0010-0.0050%。

标签:
化学分析
其他 - 其他 来源:中冶有色网 2023-03-19
粗糙肌肤的评价方法
粗糙肌肤的评价方法 850     
 0

本发明的课题在于,提供使用不会给用户造成负担、又可简便且确实地评价是否为粗糙肌肤的生物化学指标的新型评价方法。通过胶带剥离法等非侵袭式地采集皮肤角质层,通过测定其中所含有的半乳糖凝集素-7的表达量来评价粗糙肌肤的程度。

标签:
化学分析
其他 - 其他 来源:中冶有色网 2023-03-19
用于具有改善的耐粘连性、耐压痕性和硬度的水性涂层的基于多重结构化颗粒的聚合物的水性分散体

本发明涉及可交联的或不可交联的基于结构化的聚合物颗粒的聚合物的水性分散体,所述颗粒包括基于具有在60‑120℃的范围内的Tg1的聚合物P1的核聚合物相、基于具有在‑60‑40℃的范围内的Tg2的聚合物P2的包封所述核的第二聚合物相、和基于具有高于Tg2且不超过120℃的Tg3并具有1000‑50000的测得的Mn的聚合物P3的第三外聚合物相(或壳),所述聚合物P1、P2和P3相对于聚合物的总重量(P1+P2+P3)的重量比为:P1为5‑60%、P2为40‑85%、P3为5‑25%,所述重量比之和为100%。本发明还涉本发明的分散体的制备方法和该分散体作为粘合剂在保护性和/或装饰性水性涂层组合物中用途。由于所形成的颗粒的受控结构和作为结果的它们的MFT的完美的可重复性和可预见性,本发明的分散体容许在凝聚成具有高水平的内聚力的均匀的膜期间的膜的完美构造。因此,这种卓越的控制容许优异的机械性能和其它性能,特别地有关化学和机械耐性,尤其关于柔性、硬度、和耐压痕性和耐粘连性。

标签:
化学分析
其他 - 其他 来源:中冶有色网 2023-03-19
熔融的氧化铝/氧化锆颗粒混合物

一种含有熔融的氧化铝-氧化锆的颗粒的混合物,所述混合物含有在100%的含量中下述以重量百分含量表示的化学组分:40-45.5%ZrO+HfO2;46-58%Al2O3;0-10%的添加剂;<0.8%SiO2和<1.2%的杂质。所述混合物的特征是其含有杂质的颗粒数小于2%和在至少50%的情况下,在混合物的任何颗粒的横断面测定的节结浓度大于500节结/mm2。

标签:
化学分析
其他 - 其他 来源:中冶有色网 2023-03-19
含氟弹性体
含氟弹性体 857     
 0

本发明涉及过氧化物固化的含氟弹性体,这些含氟弹性体可以满足石油和天然气工业的需求,包括爆炸减压,并且可以在标准机器设备中以合理的生产量比率容易地被加工来产生固化部件,所述含氟弹性体包括:衍生自偏二氟乙烯(VDF)的重复单元;衍生自六氟丙烯(HFP)的重复单元;衍生自具有以下通式的至少一种双-烯烃[双-烯烃(OF)]的重复单元:,其中R1、R2、R3、R4、R5和R6彼此相同或不同,是H、一种卤素或C1-C5任选的卤化基团,有可能地包括一个或多个氧基团;Z是一种线性或支链的C1-C18任选的卤化的亚烷基或亚环烷基,任选地包含氧原子或一个(全)氟聚氧亚烷基;以及碘或溴固化部位;当根据ASTM D1646测量时,所述含氟弹性体进一步拥有门尼粘度为至少85MU(1+10@121℃)。本申请人出人意料地发现如以上详细描述的含氟弹性体,尽管它们的高分子量以及因此它们的门尼粘度值,可以被有效地加工来产生固化部件,这些固化部件拥有出色的密封和机械特性,尤其在高温和/或暴露至有害环境(如在高温下暴露至化学品)中之后,以便在爆炸减压条件下提供出色的行为(基本上没有缺陷)。

标签:
化学分析
其他 - 其他 来源:中冶有色网 2023-03-19
防冰涂料及其用途
防冰涂料及其用途 1219     
 0

本发明涉及通过提供具有涂层的导管内表面来减少气体水合物粘附在油和气体勘探和生产,石油精炼和/或石油化学中运输或加工流体流的导管和相关设备的内表面的方法,如按照ASTM?D7334-08所测量的,所述涂层显示出在环境空气条件下,在空气中在涂层上的固着水滴的静态接触角高于75°,其中所述涂层包括类钻碳(DLC),所述类钻碳包括选自硅(Si)、氧(O)和氟(F)的一种或多种组分的部分。

标签:
化学分析
其他 - 其他 来源:中冶有色网 2023-03-19
用来清理排放物减少组件的烧燃料的燃烧器的电极的方法和设备

一种用来操作排放物减少组件的烧燃料的燃烧器的方法和设备,包括:探测燃烧器关闭请求;响应燃烧器关闭请求而将正在供给到燃烧器的空气/燃料混合物的空气与燃料比调节到比化学计算比大的比值。该方法还包括响应燃烧器关闭请求而在预定量的时间使调节过的空气/燃料混合物前进到燃烧器的电极组件。在预定量的时间已经过去之后,关闭燃烧器。

标签:
化学分析
其他 - 其他 来源:中冶有色网 2023-03-19
板状物品、其制造方法以及其用途

本发明涉及一种包括玻璃陶瓷部件的板状物品、特别是板状载体,特别是用在热、物理和/或化学制造过程中,其具有至少一个用于优选地平坦地支撑待加工的物品的支撑面。板状物品的支撑面由与玻璃陶瓷部件连接的硼硅玻璃的均质层形成,并且层具有借助于触觉测量确定的在0.7μm至4.5μm之间的范围、优选地在0.7μm至1.3μm之间的范围的平均粗糙度Ra,和具有借助于触觉测量确定的在2.0μm至45μm之间的范围、优选在6.0μm至41μm之间的范围的平均粗糙深度Rz。本发明还涉及一种制造这种板状物品的方法。通过制造过程,在高温、温度变化和腐蚀性化学物质的影响下,板状物品尤其能够可靠地输送放在其上的物品。

标签:
化学分析
其他 - 其他 来源:中冶有色网 2023-03-19
流动池
流动池 995     
 0

在一个实例中,流动池包括基板,在基板上的可选择性移除的多孔分子网状结构,和在至少一些暴露区域上的测序表面化学物质,所述多孔分子网状结构还限定暴露的基板区域。测序表面化学物质选自:i)活化垫,附接于活化垫的聚合物层和附接于聚合物层的引物;ii)纳米结构和附接在该纳米结构上的酶。

标签:
化学分析
其他 - 其他 来源:中冶有色网 2023-03-19
具有高和低的氧化的铁含量的含锂玻璃、其制造方法及使用其的产品

低红外吸收锂玻璃包括0.0005?0.015wt%、更优选0.001?0.010wt%范围内的FeO和0.005?0.15范围内、更优选0.005?0.10范围内的氧化还原比。该玻璃能被化学强化并用于提供夜视镜或者观测设备所用的防弹观察罩。提供了一种方法,通过将另外的氧化剂加入到配合料中来将玻璃制造方法从制造高红外吸收锂玻璃(其具有0.02?0.04wt%范围内的FeO和0.2?0.4范围内的氧化还原比)变成制造低红外吸收锂玻璃。提供了第二方法,通过将另外的还原剂加入到配合料中来将玻璃制造方法从制造低红外吸收锂玻璃变成制造高红外吸收锂玻璃。在本发明的一个实施方式中,氧化剂为CeO2。本发明的一实施方式涵盖根据该方法制造的玻璃。

标签:
化学分析
其他 - 其他 来源:中冶有色网 2023-03-19
二次电池的状态估计装置

扩散估计部(100)按照通过极坐标表示的活性物质内的扩散方程式来估计活性物质内部的锂浓度分布。开路电压估计部(110)根据基于由扩散估计部(100)估计出的活性物质界面处的锂浓度的局部SOC(Θ)来求出开路电压(U(Θ))。电流估计部(120)使用由电压传感器测出的电池电压(V(T))、估计出的开路电压(U(Θ))以及由电池参数值设定部(130)设定的电池参数,并通过将电化学反应式简化了的电压-电流关系模型表达式来估计电池电流密度(I(T))。边界条件设定部(140)基于估计出的电池电流密度(I(T))来逐次设定扩散估计部(100)的扩散方程式的活性物质界面处的边界条件。

标签:
化学分析
其他 - 其他 来源:中冶有色网 2023-03-19
(±)2-(二甲基氨基)-1-{[0-(m-甲氧基苯乙基)苯氧基]甲基}乙基氢琥珀酸酯盐酸盐的晶体

本发明提供(±)2-(二甲基氨基)-1-{[O-(m -甲氧基苯乙基)苯氧基]甲基}乙基氢琥珀酸酯盐酸盐的新型 晶体。提供(±)2-(二甲基氨基)-1-{[O-(m-甲氧基苯乙基) 苯氧基]甲基}乙基氢琥珀酯盐酸盐的II型晶体和I型晶体,其 具有从在X射线粉末衍射图谱中的特定的衍射峰、在差示扫描 量热法测定的曲线中的特定的吸热峰、在固体13C-NMR谱中的特定的峰、以 及在红外吸收谱中的特定的峰中选择的至少一种物理化学性 质。

标签:
化学分析
其他 - 其他 来源:中冶有色网 2023-03-19
装饰墙板及制造该板的方法

彩色水泥粘结板,其包括由一个或多个层构成的干燥的常规涂层,其中常规涂层的至少一个层含有至少一种颜料,以及涂敷在所述干燥的常规涂层上的辐射固化的涂料组合物。常规涂层包括能够与异氰酸酯基团反应的官能团。辐射固化的涂料组合物(I)包括至少一种辐射固化的聚合物A,和至少一种化学交联且辐射固化的聚合物B,聚合物B包括已与官能团起反应的异氰酸酯基团,并且(II)在85°的入射角时根据DIN67530测量的表面光泽度为等于或小于20%。

标签:
化学分析
其他 - 其他 来源:中冶有色网 2023-03-19
控制炭黑孔隙率的方法
控制炭黑孔隙率的方法 1154     
 0

本发明涉及一种具有130m2/g至350m2/g的STSA表面积的炉法炭黑,其中?如果STSA表面积在130m2/g至150m2/g的范围内,则BET表面积与STSA表面积的比例小于1.1,?如果STSA表面积大于150m2/g至180m2/g,则BET表面积与STSA表面积的比例小于1.2,?如果STSA表面积大于180m2/g,则BET表面积与STSA表面积的比例小于1.3;所述STSA表面积和所述BET表面积根据ASTM?D?6556测得,并且对于炉法,其中当形成燃烧气体流时,调节可燃材料与O2的化学计量比以获得小于1.2的k因子,并且当限制进料至反应器的CO2量时,反应器中惰性气体的浓度增加。本发明还提供了用于实施本发明方法的设备。

标签:
化学分析
其他 - 其他 来源:中冶有色网 2023-03-19
蓄电装置用微多孔膜
蓄电装置用微多孔膜 823     
 0

本发明涉及蓄电装置用微多孔膜。本发明的目的在于,不损害微多孔膜的强度和开孔性,提高微多孔膜在高温下的耐破膜性,并且兼顾包含微多孔膜的蓄电装置的装置特性和钉刺试验中的高安全性。蓄电装置用微多孔膜所含的聚烯烃具有1种或2种以上的官能团,且具有3.0g/10分钟以下的MFR、15以下的Mw/Mn和0.85g/cm3以上的密度,在蓄电装置用微多孔膜的广角X射线散射测定中,取向率之比MD/TD为1.3以上,并且在蓄电装置用多孔膜收容到蓄电装置中后,(1)前述官能团彼此发生缩合反应、(2)前述官能团与前述蓄电装置内部的化学物质发生反应,或者(3)前述官能团与其它种类的官能团发生反应,从而形成交联结构。

标签:
化学分析
其他 - 其他 来源:中冶有色网 2023-03-19
燃料组分识别
燃料组分识别 788     
 0

本发明是燃料组分识别。公开一种根据诸如燃料乙醇含量的燃料组成调节燃料喷射的方法。该燃料组成可以在瞬态条件期间通过将由较高和较低乙醇含量的不同汽化速率引起的瞬态加燃料效果与测量的排气空燃比相关联来获悉。以这种方式,即使在对成分变化和传感器漂移不太敏感的瞬态期间也能够获得与燃烧化学计量无关的乙醇含量。

标签:
化学分析
其他 - 其他 来源:中冶有色网 2023-03-19
用于硫回收装置的需气反馈控制系统和方法

一种具有对下游催化级提供合并流出物的多个并联热级的克劳斯装置包括控制器,所述控制器允许独立和单独作为灟­级流出物和催化级流出物的测定化学组成的函数控制各热级。

标签:
化学分析
其他 - 其他 来源:中冶有色网 2023-03-19
上一页 23 24 25 26 27 ... 193 下一页
共193页    到第

中冶有色为您提供最新的其他有色金属化学分析技术理论与应用信息,涵盖发明专利、权利要求、说明书、技术领域、背景技术、实用新型内容及具体实施方式等有色技术内容。打造最具专业性的有色金属技术理论与应用平台!

全国热门有色金属设备推荐
展开更多 +
全国热门有色金属技术推荐
展开更多 +

 

江西省隆恩特环保设备有限公司
宣传

报名参会
更多+

报告下载

有色专家
更多+

长春黄金研究院有限公司
总经理
矿冶科技集团有限公司
中国工程院院士
洛阳有色矿业集团有限公司
生产技术部经理
赣州江钨钨合金有限公司
工程师
有研资源环境技术研究院(北京)有限公司
副总经理/教授级高工
赤泥综合利用研究报告2025
推广

热门技术
更多+

推荐企业
更多+

福建省金龙稀土股份有限公司
宣传

发布

在线客服

公众号

电话

顶部
咨询电话:
010-88793500-807