青岛垚鑫智能科技有限公司
宣传

位置:中冶有色 >

有色技术频道 >

> 化学分析技术

分类:
全部
矿山技术
冶金技术
材料制备及加工技术
环境保护技术
分析检测技术
 
全部
物理检测技术
化学分析技术
力学检测技术
无损检测技术
失效分析技术
环境检测技术
地区:
全部
北京
天津
上海
重庆
河北
山西
辽宁
吉林
黑龙江
江苏
浙江
安徽
福建
江西
山东
河南
湖北
湖南
广东
海南
四川
贵州
云南
陕西
甘肃
青海
内蒙
广西
西藏
宁夏
新疆
其他
其他
展开
 
全部
天津

天津天津有色金属化学分析技术理论与应用

免费发布技术信息>>
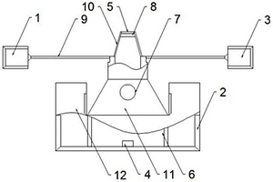
畜舍内挂壁式生物过滤甲烷气体吸附装置

本实用新型提供了一种畜舍内挂壁式生物过滤甲烷气体吸附装置,包括机箱、检测机构和吸附机构,机箱内设有检测机构和吸附机构;吸附机构包括抽气泵、生物滤芯和排气扇;检测机构包括CH4气体传感器和继电器;继电器分别与CH4气体传感器、抽气泵和排气扇电性连接。本实用新型装置将吸附机构置于机箱内部,通过机箱内的抽气泵导管和排气扇进行气体交换,将圈舍内的气体进行过滤,吸附过程消除了内源性减排方法会降低动物的生产性能,外源性化学吸附方法对畜禽和养殖人员造成危险的问题,该装置操作简单,减排效果明显,不会影响家畜的生产性能,不会对环境造成负面影响,可广泛应用在控制畜舍内CH4的排放处理领域。

标签:
化学分析
天津 - 天津 来源:中冶有色网 2023-03-19
嵌入式数字化水处理装置控制电路

本实用新型涉及一种嵌入式数字化水处理装置控制电路,包括检测电路、逻辑控制微处理器电路、驱动电路、输出电路以及电源电路,所述检测电路、逻辑控制微处理器电路、驱动电路、输出电路依次顺序闭环连接,所述电源电路分别连接检测电路、逻辑控制微处理器电路、驱动电路以及输出电路并为其提供电能。本实用新型利用交变信号来对水进行阻垢除垢、杀菌、灭藻处理,在工作过程中,不对要处理的水添加任何化学或其它形式的物质,本实用新型实现了以纯物理的方式处理水的阻垢除垢、杀菌、灭藻工作。

标签:
化学分析
天津 - 天津 来源:中冶有色网 2023-03-19
便潜血快速诊断的层析试纸

本实用新型公开了一种便潜血快速诊断的层析试纸,其在在塑料支撑板上紧密连接硝酸纤维素NC膜,硝酸纤维素NC膜包被有相互分离的检测T线和质控C线,所述T线为包被在NC膜上的人血红蛋白单抗,所述C线为包被在NC膜上的羊抗鼠IgG抗体;在硝酸纤维素NC膜的一端搭接吸样垫,硝酸纤维素NC膜的另一端搭接含有标记人血红蛋白单抗的胶体金垫,胶体金垫的另一端搭接上样垫2,上样垫2及胶体金垫上搭接隔离带,隔离带连接上样垫1,上样垫1一端紧密搭接化学法便潜血检测试纸构成,用于消化道类疾病的筛查或临床诊断,具有敏感性高、特异性强、准确度高、操作简便、反应快速、适合现场检测和经济实用等优点。

标签:
化学分析
天津 - 天津 来源:中冶有色网 2023-03-19
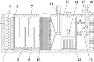
高效工业污水净化装置

本实用新型公开了一种高效工业污水净化装置,包括沉淀池、机仓、化学净化池和微生物净化池,所述沉淀池的左侧设置有进水口,所述机仓固定安装在化学净化池和微生物净化池的上部,所述化学净化池的底部设有pH值传感器,所述机仓的左侧设有碱性药剂仓和酸性药剂仓,所述碱性药剂仓和酸性药剂仓的下部均连接有药剂管道,所述药剂管道的内部均设有电控阀,所述机仓的右侧设有控制器与电机,所述电机通过齿轮与搅拌装置连接,所述搅拌装置位于微生物净化池的中部,所述微生物净化池的底部设有检测装置,所述微生物净化池的右下侧设有出水口,本实用新型结构简单,适合对多种工业污水进行高效的净化处理,值得推广。

标签:
化学分析
天津 - 天津 来源:中冶有色网 2023-03-19
高通量阵列式水质传感器

本发明公开了一种高通量阵列式水质传感器,其具体包括,N行N列比色池阵列,N行N列接收光纤阵列,N行N列LED光源阵列,N行N列比色池阵列用于预装与水样产生显色反应的化学试剂。上述三种阵列中每个相同行和列处的基本单元在位置上相互对应,还包括光纤束、聚光镜、光电二极管、跨导放大器、A/D转换器、数据采集系统;光纤束与聚光镜相连,聚光镜与光电二极管相连,光电二极管与跨导放大器相连,跨导放大器与A/D转换器相连,A/D转换器与数据采集系统相连,数据采集系统与LED扫描驱动控制器相连。本发明检测速度快、检测时间短,极大地克服了现有的单通道单参数比色传感方法费时费力的缺点,适用于大样本的水质快速现场检测。

标签:
化学分析
天津 - 天津 来源:中冶有色网 2023-03-19
用于非酶葡萄糖传感电极的T3C2TxMXene/CuMOF复合材料及其制备方法

本发明属于电化学传感器领域,具体涉及一种用于非酶葡萄糖传感电极的T3C2TxMXene/CuMOF复合材料及其制备方法。以单层T3C2TxMXene作为基底材料,在T3C2TxMXene表面原位生长呈交联片状的CuMOF。该复合材料的制备方法主要包括以下三个步骤:合成单层T3C2TxMXene作为基底材料;室温下采用温和的方法合成CuMOF,过滤,保留结晶溶液;最后将单层T3C2TxMXene加入结晶溶液,室温静置得到T3C2TxMXene/CuMOF复合材料。本发明制备的复合材料,CuMOF呈交联片状原位生长在T3C2TxMXene的片层表面,且形貌均匀,比表面积大,具有高的电催化活性,具有对葡萄糖检测灵敏度高、特异性检测性强的优点,从而提高葡萄糖传感器的检测效果,具有良好的应用前景。

标签:
化学分析
天津 - 天津 来源:中冶有色网 2023-03-19
基于分布式协作学习的DDoS主动防御系统及方法

本发明公开了一种基于分布式协作学习的DDoS主动防御系统及方法,该系统包括DDoS攻击检测模块、边缘设备分布学习模块、决策强化学习模块和主动防御模块;采用CNN神经网络充分发掘数据流量的时间特征和空间特征;将CNN神经网络模型和轻量级模型引入物联网DDoS攻击流量检测;边缘节点上传环境信息给云服务器,控制节点下放主动防御决策给边缘节点;实现边缘节点做出协作学习决策,部署拓扑构造策略;选择主动防御措施。与现有技术相比,本发明实现了应用于端‑边设备架构下,针对物联网数据流的分布式在线DDoS检测技术,实现延迟更低、鲁棒性更好的智能防御引擎;节点间的交互机制和学习机制提升了主动防御的精确度,有效降低了时延。

标签:
化学分析
天津 - 天津 来源:中冶有色网 2023-03-19
气相色谱仪尾气处理装置

本实用新型公开了一种气相色谱仪尾气处理装置,涉及尾气处理技术领域,具体为一种气相色谱仪尾气处理装置,包括装置本体,所述装置本体的两端分别开设有气体进口和气体出口,所述气体进口的端口固定安装有前端流量计。该气相色谱仪尾气处理装置,通过使用活性炭将尾气进行干燥,利用挡板对尾气阻挡除去尾气中的颗粒,再配合过滤腔中过滤网的使用进一步滤除尾气中的有害颗粒,最后将尾气中的有毒有害气体经化学反应分解无害的气体,经PH测量计检测气体的PH值在正常范围内时才可将净化后的尾气进行排放,该尾气处理装置使用物理以及化学方法对尾气进行净化处理,有效降低了尾气中有害气体的含量。

标签:
化学分析
天津 - 天津 来源:中冶有色网 2023-03-19
疏水蛋白-荧光蛋白融合蛋白及其构建与应用

本发明公开了一种疏水蛋白‑荧光蛋白融合蛋白及其构建与应用,其构建为:(1)化学合成改良过的疏水蛋白mHGFI、荧光蛋白smURFP及HO‑1的核苷酸序列;(2)将荧光蛋白基因smURFP的核苷酸序列与HO‑1的核苷酸序列连接;再将疏水蛋白基因mHGFI的核苷酸序列和荧光蛋白基因smURFP与HO‑1基因的核苷酸序列连接得到融合序列;(3)将融合序列连接到大肠杆菌表达载体上,得到重组表达载体;(4)将重组表达载体转入宿主大肠杆菌中,得到重组大肠杆菌;(5)破菌后,通过Ni亲和层析、离子交换层析、凝胶过滤层蛋白纯化方法得到疏水蛋白‑荧光蛋白融合蛋白。本发明对从大肠杆菌中纯化出的融合蛋白进行凝血酶检测,与其他检测方法相比具有生产成本低、生产效率高、操作简便、反应迅速、检测特异性与灵敏度高的优势。

标签:
化学分析
天津 - 天津 来源:中冶有色网 2023-03-19
加热控制装置、可视窗反应釜

本实用新型属于化学加热催化控制、监视记录装置领域,公开了一种加热控制装置、可视窗反应釜,加热控制装置包括主控板、光源、以及可视窗反应釜、主控电路、温度设置电路、温度显示电路、温度检测电路;可视窗反应釜包括反应釜本体,反应釜本体上设有:物料输送机构、测温机构、加热机构、光源机构、观察窗,本实用新型全程可视化学反应,能够达到精确控制过程,并实时记录,保证试验可重复性,使试验的过程、现象在实验员的控制范围内,不因时间、空间变化、人为问题导致试验重复性降低。

标签:
化学分析
天津 - 天津 来源:中冶有色网 2023-03-19
双发射镧系铕金属有机骨架材料及其制备方法与应用

本发明涉及一种双发射镧系铕金属有机骨架材料及其制备方法与应用。它是采用双发射镧系金属有机骨架材料的化学通式为[Eu2(L)2(H2O)2(DMF)2],其中Eu2O2簇作为无机节点,刚性不对称三羧酸配体三联苯‑3,4ʹʹ,5‑三羧酸(H3L)作为有机桥联配体,利用简便的一锅法溶剂热技术成功制备而得。本发明同时也公开了金属有机骨架材料在选择性检测磷酸阴离子方面的应用。检测过程中随着加入的磷酸根离子含量的增加,在紫外灯照射下呈现出易被肉眼观察到的从粉红色到紫色的明显的颜色变化,使得检测过程变得更加方便、实用。

标签:
化学分析
天津 - 天津 来源:中冶有色网 2023-03-19
强硝酸体系含铀废液的零排放处理装置及其处理方法

本发明公开了一种强硝酸体系含铀废液的零排放处理装置及其处理方法,所述零排放处理装置包括中和反应系统、电化学反应系统、选择性高效吸附系统、膜分离浓缩系统和检测与自动控制系统;所述处理方法包括以下步骤:(ⅰ)注入废液;(ⅱ)中和沉淀过滤;(ⅲ)电化学除重金属;(ⅳ)选择性高效吸附;(ⅴ)膜分离浓缩;(ⅵ)吸附柱洗脱再生。本发明废水处理装置采用“中和沉淀过滤+电化学除重金属+选择性高效吸附+膜分离浓缩”的工艺路线,可处理强硝酸体系的含铀废液,实现废水的零排放,与传统处理工艺相比,自动化程度高,出水水质好,浓缩倍数高,运行稳定可靠。

标签:
化学分析
天津 - 天津 来源:中冶有色网 2023-03-19
大鼠肝S9的诱导方法
大鼠肝S9的诱导方法 902     
 0

本发明提供了一种大鼠肝S9的诱导方法,包括如下步骤:(a)选择6‑7周雄性大鼠,采用经口灌和腹腔注射方式联合给予1‑苄基咪唑和环己醇两种诱导剂诱导;(b)处死大鼠,无菌条件下应用预冷缓冲液灌洗肝脏,取出肝脏称重;(c)剪碎肝脏,加入预冷缓冲液混匀在冰浴中用匀浆器制成肝匀浆;(d)将肝匀浆置低温高速离心机中,离心后取其上清液即得到大鼠肝S9;(e)检测大鼠肝S9的蛋白浓度和典型肝代谢酶基因表达相对倍数。本发明所述的诱导剂方法经济、易得,对活化化学物质的典型代谢酶均有较强的诱导作用,适用于工业化学品、药物和环境化学物安全性评价。

标签:
化学分析
天津 - 天津 来源:中冶有色网 2023-03-19
可视血糖试纸及其制备方法

本发明公开了一种可视血糖试纸的结构及其制备方法,所述可视血糖试纸,其结构由浸渍加工纸基材和底面上涂有粘合剂的Millipore纳米滤膜复合组成,其制备方法包括浸渍剂溶液的配制及浸渍加工纸基材的制备和浸渍加工纸基材与Millipore纳米滤膜复合。本发明试纸在血糖检测中,通过膜过滤血液,利用色原试剂、助显色剂与H2O2的显色反应,无需使用专门的电化学信号检测装置,达到快捷检测出血糖浓度的效果。与现有技术的聚丙烯、聚乙烯、聚氯乙烯和聚碳酸酯基材的试纸相比,本发明试纸的植物纤维纸基材为可再生性的天然资源,具有良好的生物降解性和价廉的优点,在室温下保存时间至少3个月。

标签:
化学分析
天津 - 天津 来源:中冶有色网 2023-03-19
一类稀土基多模态发光钙钛矿材料及其制备方法和应用

本发明公开了一类稀土基多模态发光钙钛矿材料,该稀土基钙钛矿材料化学组成满足:A2A’1‑aA”aB1‑b‑c‑dB’bRcR’dX6,a,b,c,d取值满足,0≤a≤1,0<b+c+d≤1。该材料能实现多模态发光。该稀土基钙钛矿材料的制备方法如下:(1)按照化学式A2A’1‑aA”aB1‑b‑c‑dB’bRcR’dX6对应的成分,根据化学式计量比分别称取含有对应元素的化合物作为原料;(2)将称取的原料,加入含有反应溶剂的反应釜内衬中搅拌;(3)将反应釜内衬封装在不锈钢釜外套内,加热然后降温至室温,冷却后过滤收集沉淀产物,真空干燥后即得。还公开了该材料在裸眼检测电磁波中的应用。

标签:
化学分析
天津 - 天津 来源:中冶有色网 2023-03-19
基于掺硼金刚石薄膜的抗坏血酸氧化酶传感器电极

一种基于掺硼金刚石薄膜的抗坏血酸氧化酶传感器电极,由硼掺杂金刚石薄膜、氨基单分子层和酶膜层构成;其制备方法是:首先将钽片经表面预处理后,利用热丝CVD设备在钽片上沉积掺硼金刚石薄膜,然后对掺硼金刚石薄膜进行氨基化修饰,最后在氨基化的金刚石薄膜表面采用化学交联法固定抗坏血酸氧化酶;该电极可用于电化学生物传感器。本发明的优点是:该抗坏血酸氧化酶传感器电极检测限达1×10-11mol/L,且由于继承了金刚石耐腐蚀、极高的析氧过电位、宽的电势窗口、较高电化学的稳定性等优点,决定了该电极灵敏度高、重现性好、寿命长。

标签:
化学分析
天津 - 天津 来源:中冶有色网 2023-03-19
罗丹明类染料荧光分子探针及其制备方法和应用

一种罗丹明荧光染料分子荧光探针,化学名称为13,16-(3’,3”-二氧代螺异苯并呋喃)-3,6-二(二乙氨基)萘并[1,2,3,4]二呫吨及其类似物,其在不同的酸碱条件下,荧光染料在单个螺环开环和双螺环开环的异构体之间转化,使染料的共轭体系发生改变,对应溶液颜色、吸收和发射峰的波长及荧光强度发射变化,可作为荧光分子探针材料实现NADH的荧光检测检测。本发明的优点是:该荧光分子探针分子荧光探针具有双螺环的六元环稠合体系,具有两个酯化基团和良好的生物膜透性,对检测NADH响应快、选择性高;其制备方法简单易行、成本低,易于推广应用。

标签:
化学分析
天津 - 天津 来源:中冶有色网 2023-03-19
鉴定半滑舌鳎精液来源外泌体的ELISA方法

一种鉴定半滑舌鳎精液来源外泌体的ELISA方法,属于鱼类生物技术领域,特别是海水鱼精液外泌体检测应用领域。本发明开发了针对半滑舌鳎精液来源的外泌体鉴定的方法,用以解决半滑舌鳎精液中外泌体鉴定的问题。本发明利用抗HSP90特异性抗体建立并优化了一种直接法ELISA体系,通过检测外泌体标志蛋白HSP90,来间接体现外泌体的存在与否,其检测结果特异性强,且操作简便、快捷,且无需大型仪器设备及昂贵的化学试剂,具有应用推广价值。

标签:
化学分析
天津 - 天津 来源:中冶有色网 2023-03-19
水力空化强化水处理设备

本发明公开了一种水力空化强化水处理设备。本发明包括预处理单元、增强型空化发生装置、水反馈循环处理回路、多参数水质检测显示系统、智能化自动控制系统;所述多参数水质检测显示系统由出水管路中依次安装的压力传感器、氧化还原电位传感器、流量计、pH传感器、电导率传感器、溶解氧传感器、化学需氧量传感器、总有机碳传感器、温度传感器和LED触摸显示屏组成;所述水反馈循环处理回路两端分别连接出水电磁阀前段和进水管路的水泵前端,出水电磁阀和循环处理电磁阀分别连接可编程序控制器。本发明用于水处理净化,并采用多个传感器实现对设备中多项水质参数和运行参数的在线检测显示以及设备运行的自动控制。

标签:
化学分析
天津 - 天津 来源:中冶有色网 2023-03-19
新型域名生成模型建立及应用

本发明公开了一种新型域名生成模型建立及应用,包括如下步骤:域名生成器将需要更新的域名信息合成获得域名任务输入域名系统;所述域名系统对域名任务进行判断并正向反馈当前注册成功的域名标签输入优化器;所述优化器通过策略梯度方法对域名标签计算输出更新梯度参数θ输入所述生成器;所述域名生成器重复上述步骤,直到生成器收敛,本发明解决现有僵尸网络中域名生成算法抗检测能力和实用性不平衡的问题,通过使用少量的检测器信息和强化学习方法,同时实现域名生成算法的高抗检测能力和高实用性。

标签:
化学分析
天津 - 天津 来源:中冶有色网 2023-03-19
适用于工业园区高盐污水的TOC与COD相关性的数学模型

本发明涉及一种适用于工业园区高盐污水的TOC与COD相关性的数学模型,其特征是:针对高盐污水的COD与TOC的比例关系,使用总有机碳(TOC)数值推算出化学需氧量(COD)的数值,反映污水中有机物污染程度,当高盐污水中氯化物≤1000mg/L时,得出TOC与COD的一次线性关系方程:COD=2.7061TOC+12.8,相关系数R=0.8788,数据点相对误差均在10%以内。有益效果:本发明对于高盐高氯化物的污水,氯化物含量的影响会使国标方法检测数值偏高,本发明做出的化学需氧量与总有机碳相关性方程可以使用总有机碳推算出化学需氧量的数值,起到减少污染,排除干扰,提高工作效率的作用。

标签:
化学分析
天津 - 天津 来源:中冶有色网 2023-03-19
石墨烯微管及其制备方法、三电极体系及其应用、微电极阵列

本发明提供了一种石墨烯微管及其制备方法、三电极体系及其应用、微电极阵列,属于石墨烯制备技术领域。本发明提供的制备方法以乙醇为碳源、氮气为辅助气体、多根平行放置且处于同一平面的钽丝为沉积基底,通过对所述沉积基底通电,进行化学气相沉积,在所述沉积基底上得到石墨烯微管。本发明的化学气相沉积法以乙醇为碳源,碳源来源广,成本低;且不同于常用的甲烷等气体作为碳源,降低了实验风险,使实验更加简单安全。同时,上述化学气相沉积方法所得石墨烯微管品质较高,基于此石墨烯微管得到的三电极体系尺寸较小,可用于构造植物活体检测的微电极阵列。

标签:
化学分析
天津 - 天津 来源:中冶有色网 2023-03-19
天然气生产用加热炉泄漏联动报警装置

本实用新型公开天然气生产用加热炉泄漏联动报警装置,包括炉体、压力传感器、出气管、气体检测装置、声光警报装置、联动控制器、透气膜和电化学传感器,所述炉体的顶部连通有所述出气管,所述出气管上安装有出气阀,所述出气管的内侧壁上安装有所述压力传感器,所述压力传感器靠近所述出气阀的进气端,所述出气管的外侧壁上还固定安装有所述气体检测装置,所述炉体的顶壁上还安装有所述声光警报装置,所述炉体的侧壁上安装有所述联动控制器。有益效果在于:通过压力传感器对炉体内部气压进行监测,由气压变化引起的信号变化从而启动气体检测判定是否存在漏气,从而实现联动报警。

标签:
化学分析
天津 - 天津 来源:中冶有色网 2023-03-19
自发光荧光聚苯乙烯的制备及优化方法

本发明提供了一种荧光聚苯乙烯的制作及优化方法,属于功能材料技术领域。通过聚苯乙烯(PS)和乙酰氯(AC)反应生成可自身发荧光的乙酰化聚苯乙烯,根据主要影响条件,设计了三因素三水平正交试验进行优化,并对最优条件下生产的荧光聚苯乙烯的表面特征、化学结构及荧光稳定性进行检测。结果表明,最优反应条件下的荧光聚苯乙烯荧光强度大且不会随时间变化而减弱,同时具有良好的耐低温性、耐酸碱性和光稳定性,反应前后荧光聚苯乙烯的表面形态没有发生变化,并且用此方法优化后的荧光聚苯乙烯在生物体内可以清楚地观测到且具有良好的稳定性,故可将其大范围推广应用于化学传感器、流式细胞技术、示踪、医学成像和光电子器件等领域。

标签:
化学分析
天津 - 天津 来源:中冶有色网 2023-03-19
三维阵列式微流体进样/清洗芯片

三维阵列式微流体进样/清洗芯片,属于生物传感器及其检测技术领域。阵列式生化传感芯片,是一种集微机械加工、生物/化学反应为一体的新型生物、化学敏感元件,针对现代“片上实验室”对全封闭微缩实验的需要,本发明以微机械加工技术为基础,提出了既可满足“片上实验室”封闭式全微缩测试条件的需求,又可与全自动生物芯片点样仪相兼容的三维阵列式微流体进样/清洗芯片,具有灵活、成本低、便于规模化生产的优势。

标签:
化学分析
天津 - 天津 来源:中冶有色网 2023-03-19
电力工具携带包
电力工具携带包 1124     
 0

本发明公开一种电力工具携带包,包括袋体和保护腔体,所述保护腔体与袋体的口部固定连接,所述保护腔体设有自封口和抽气口,所述自封口的内侧设有化学变色指示标记,所述袋体的口部为撕开口或胶质密封口,所述胶质密封口上旋接有密封盖。本发明能检测工具包内的化学物质以监测包内的工具爱腐蚀情况,提高了药物的使用安全性。

标签:
化学分析
天津 - 天津 来源:中冶有色网 2023-03-19
分层设计的高电活性生物膜可控形成方法

本发明公开一种分层设计的高电活性生物膜可控形成方法,针对自然条件驯化生物膜启动时间长、功率低、稳定性差以及可重复性差等缺点,同时电活性生物膜的驯化需要经过曝氮气处理、严格控制厌氧条件,本方法先采用悬浮纯菌预消氧模式创造厌氧环境,再通过控制电路电压的梯度变化先后形成内外层生物膜,最后调控微氧环境,促进生物膜中电子传递,实现快速高效地形成致密的、稳定性优异的、内核和外壳分层可控的高电活性生物膜,同时可以避免因曝氮气造成的成本增加和资源浪费;作为微生物电化学传感器的敏感元件,本发明形成的高电活性生物膜可以明显提高微生物电化学传感器的灵敏度,实现水质检测简便、高效、稳定、实时在线监测。

标签:
化学分析
天津 - 天津 来源:中冶有色网 2023-03-19
加热控制装置、参数设置方法、可视窗反应釜

本发明属于化学加热催化控制、监视记录装置领域,公开了一种加热控制装置、参数设置方法、可视窗反应釜,加热控制装置包括主控板、光源、以及可视窗反应釜、主控电路、温度设置电路、温度显示电路、温度检测电路;加热控制装置的参数设置方法包括:基本参数设置步骤、控制参数设置步骤;可视窗反应釜包括反应釜本体,反应釜本体上设有:物料输送机构、测温机构、加热机构、光源机构、观察窗,本发明全程可视化学反应,能够达到精确控制过程,并实时记录,保证试验可重复性,使试验的过程、现象在实验员的控制范围内,不因时间、空间变化、人为问题导致试验重复性降低。

标签:
化学分析
天津 - 天津 来源:中冶有色网 2023-03-19
环境介质中病毒高效富集方法

本发明提供了一种环境介质中病毒高效富集方法,属于环境病毒检测技术领域。环境介质中病毒高效富集方法,包括以下步骤:将树脂活化,利用金属阳离子溶液对活化后树脂进行改性,用改性后树脂填充吸附柱,将待富集样本溶液从所述吸附树脂柱的上部流入,匀速通过所述吸附树脂柱,用洗脱液对所述富集的吸附树脂柱进行洗脱,收集富集液。本发明创造性地将分离纯化化学物质的吸附树脂用于环境介质中低浓度病原微生物的高效富集。该方法对病毒取得了理想的富集效果,吸附率和洗脱率均达到80%以上,可以满足检测需求,为水、食品以及环境样本中介水传播病毒的检测、监测提供技术支撑。

标签:
化学分析
天津 - 天津 来源:中冶有色网 2023-03-19
源自人参属植物或其不同部位的中药的鉴别方法及其应用

本发明关于中药鉴定技术领域,尤其涉及一种源自人参属多种植物或其不同部位的化学组成相似的中药的鉴别方法及其应用。本发明以三七皂苷R1、人参皂苷Rg1、人参皂苷Re、丙二酰人参花蕾皂苷Re1、24(R)‑拟人参皂苷F11等作为标志物对待测样品进行检测,通过检测结果鉴别所述待测成分的中药来源。以上标志性成分在不同人参属植物以及同一人参属植物的不同部位来源的中药中均含量不同,根据以上标志性成分是否被检出、含量,以及成分含量之间的比值即可鉴别出待测样品的具体品种和所属部位,适用范围较广,既能用于人参属中药或其部位的鉴别,也能应用于中成药处方中人参属成分的真伪鉴别和来源鉴别。

标签:
化学分析
天津 - 天津 来源:中冶有色网 2023-03-19
上一页 20 21 22 23 24 ... 73 下一页
共73页    到第

中冶有色为您提供最新的天津天津有色金属化学分析技术理论与应用信息,涵盖发明专利、权利要求、说明书、技术领域、背景技术、实用新型内容及具体实施方式等有色技术内容。打造最具专业性的有色金属技术理论与应用平台!

全国热门有色金属设备推荐
展开更多 +
全国热门有色金属技术推荐
展开更多 +

 

江西省隆恩特环保设备有限公司
宣传

报名参会
更多+

报告下载

有色专家
更多+

长沙有色冶金设计研究院有限公司
正高级工程师/中国铝业首席工程师/全国有色金属行业设计大师/国家注册采矿工程师
中国有色金属工业协会
教授级高级工程师
中国工程院 /矿冶科技集团有限公司
中国工程院 院士
中国工程院 / 中南大学
中国工程院 院士
东华理工大学
校长/教授
赤泥综合利用研究报告2025
推广

热门技术
更多+

推荐企业
更多+

福建省金龙稀土股份有限公司
宣传

发布

在线客服

公众号

电话

顶部
咨询电话:
010-88793500-807